Mặc dù Apple Silicon hiện chỉ hoạt động với lõi GPU tích hợp của riêng mình, tuy nhiên Apple đang nghiên cứu cách để có thể hỗ trợ nhiều tùy chọn hơn, chẳng hạn như GPU PCI-E, và tất cả đều hoạt động song song.
Có một điều mà máy Mac của Intel có mà Apple Silicon không có, đó là khả năng sử dụng GPU trong vỏ bọc bên ngoài qua Thunderbolt hoặc bên trong Mac Pro. Hiện tại không có quy định nào với Apple Silicon để làm như vậy.
Nó có thể không phải là một vấn đề liên quan đến hầu hết người dùng Mac. Nhưng đó là một vấn đề lớn đối với một số người, đặc biệt đối với những người mua Mac Pro. Tuy nhiên mới đây, một loạt bốn ứng dụng bằng sáng chế mới được tiết lộ cho thấy Apple đang xem xét vấn đề này.
Tại sao Apple từ bỏ hỗ trợ nhiều GPU
Apple Silicon đã mang đến những cải tiến mạnh mẽ và thực tế chưa từng có, đó là về hiệu suất và khả năng so với các bộ xử lý Intel trước đó. Một phần trong đó là cách các bộ vi xử lý mới do Apple thiết kế đã cắt giảm các nút cổ chai trước đó. Chẳng hạn, không giống như các chip RAM đặc trưng trong thiết bị, hệ thống Bộ nhớ hợp nhất mới sẽ có RAM được cài đặt trên bộ xử lý trung tâm. Điều đó có nghĩa là bạn không thể nâng cấp nó sau này, nhưng nó cũng tăng tốc đáng kể tốc độ mà CPU có thể sử dụng RAM.
Bộ xử lý Apple Silicon sẽ đi kèm với lõi đồ họa tích hợp vì những lý do tương tự. Và để hỗ trợ bên thứ ba, Apple sẽ phải tìm cách đạt được một số điều.
•Bao gồm không gian vật lý cho thẻ GPU hoặc đầu nối cho GPU bên ngoài
•Xác định thời điểm một tác vụ được GPU khác phục vụ tốt hơn
•Sau đó root dữ liệu vào GPU đó
•Xử lý cách nó lấy lại dữ liệu từ GPU
Điều đầu tiên có thể sẽ được giải quyết trong Mac Pro sắp ra mắt, hoặc có lẽ là một kiểu máy mới hơn, vì thiết bị đó có thể mở rộng được.
Ba điều còn lại khác trong danh sách có thể được giải quyết bởi một hoặc nhiều trong số bốn ứng dụng bằng sáng chế mới được tiết lộ.
Lợi ích của việc hỗ trợ nhiều GPU
Apple cho biết trong đơn xin cấp bằng sáng chế: "Với khả năng tính toán ngày càng tăng của chúng, các đơn vị xử lý đồ họa (GPU) hiện đang được sử dụng rộng rãi cho khối lượng công việc quy mô lớn. Vị trí hợp lý đến vị trí phần cứng sẽ lập sơ đồ cho Bộ xử lý đồ họa."
Bằng sáng chế tiếp tục: "Các API như Metal và OpenCI sẽ cung cấp cho các nhà phát triển phần mềm một giao diện để truy cập sức mạnh tính toán của GPU cho các ứng dụng của họ. Trong thời gian gần đây, các nhà phát triển phần mềm đã chuyển một phần đáng kể các ứng dụng của họ sang sử dụng GPU."
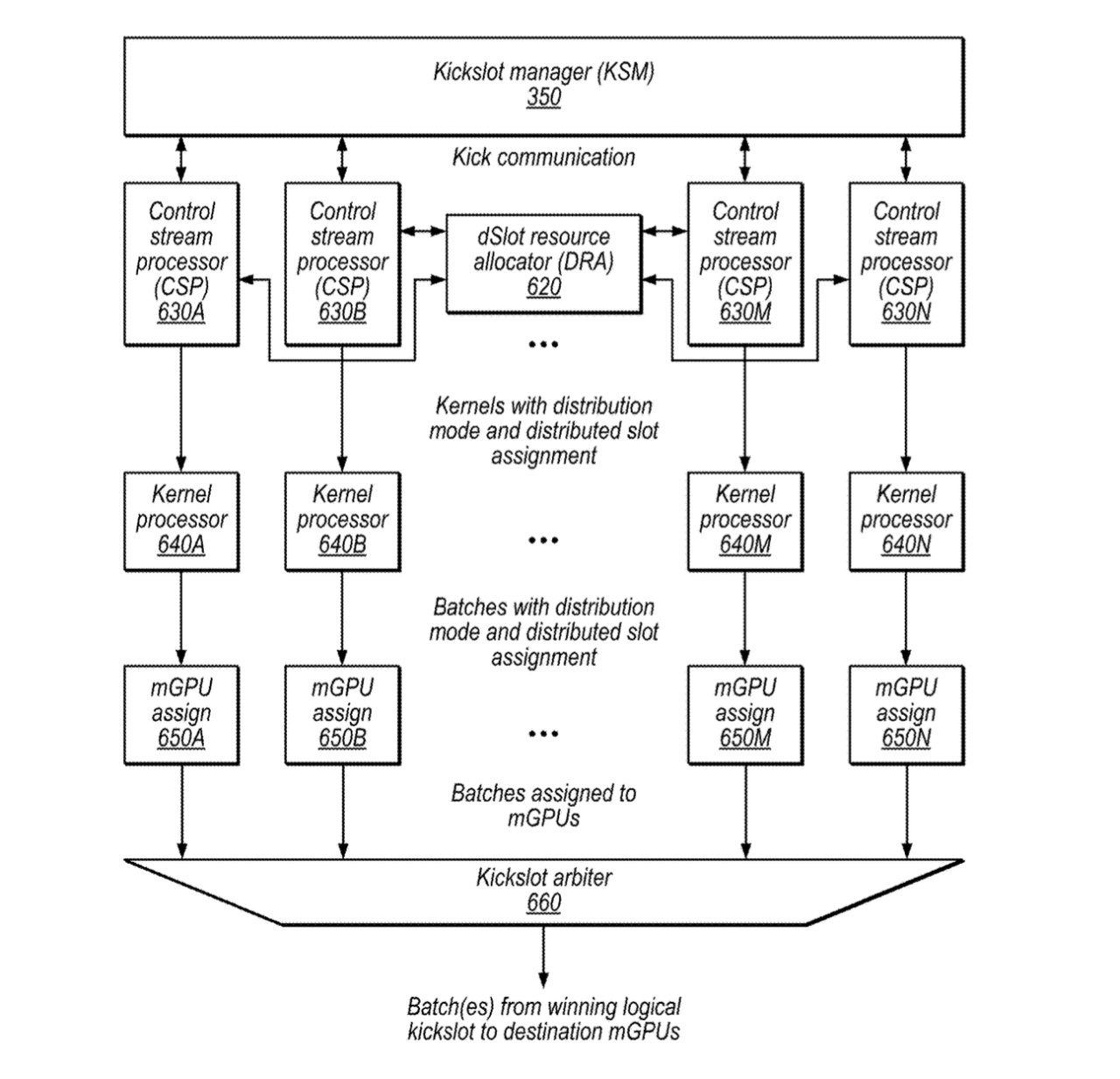
Apple đã sử dụng thuật ngữ "kick" để chỉ loại đơn vị đồ họa riêng biệt hoạt động mà GPU có thể thực hiện. Sau đó, họ cho biết có một vấn đề trong việc đưa những cú đá này đến đúng GPU.
![Mac Pro trong tương lai có thể sử dụng song song GPU Apple Silicon & PCI-E]()
Bằng sáng chế cho biết: "Mạch tổng thể dữ liệu (ví dụ: chủ dữ liệu tính toán, chủ dữ liệu đỉnh và chủ dữ liệu pixel) có thể phân phối công việc từ các cú đá này tới nhiều lõi đổ bóng được sao chép, ví dụ như qua kết cấu truyền thông."
Một card đồ họa có thể chiếm cái mà Apple gọi là "kickslot", dường như chỉ hơn một chút so với khe cắm PCI-E bên trong hoặc bên ngoài máy tính. Có thể sẽ có hai hoặc nhiều trong số này, và macOS sẽ chuyển đổi giữa chúng.
Chuyển đổi giữa các GPU
Việc chuyển đổi giữa các card đồ họa này yêu cầu công nghệ tương tự như Giao diện liên kết có thể mở rộng (SLI) cũ của NVidia để điều khiển các card và bộ kích hoạt.
Các ứng dụng bằng sáng chế mới của Apple bao gồm một ứng dụng có tên là "Mạch quản lý Kickslot dành cho bộ xử lý đồ họa", đây là một phần để đạt được kết quả tương tự.
Apple cho biết: “Mạch quản lý vị trí có thể lưu trữ, sử dụng mục nhập của mạch vị trí để theo dõi thông tin do phần mềm chỉ định cho một tập hợp đồ họa hoạt động”. "Mạch quản lý vị trí có thể tìm nạp trước, từ vị trí và trước khi phân bổ tài nguyên lõi của shader cho tập hợp công việc đồ họa, dữ liệu đăng ký cấu hình cho tập hợp công việc đồ họa."
![Mac Pro trong tương lai có thể sử dụng song song GPU Apple Silicon & PCI-E]()
Vì vậy, hai hoặc nhiều thẻ GPU có thể hoạt động cùng nhau, nhưng điều đó cần phải lập lịch trình. Do đó, cần phải có ứng dụng bằng sáng chế mới thứ ba của Apple: "Lập kế hoạch đồ họa dựa trên mối quan hệ".
Apple cho biết trong ứng dụng này: "Mạch phân phối có thể nhận một bộ công việc đồ họa do phần mềm chỉ định", "và ánh xạ các phần của bộ công việc đồ họa do phần mềm chỉ định cho các nhóm đơn vị phụ của bộ xử lý đồ họa."
Apple lưu ý: "Điều này có thể cải thiện hiệu quả của bộ đệm trong một số phương án, bằng cách cho phép đồ họa hoạt động truy cập cùng vùng bộ nhớ được gán cho cùng một nhóm đơn vị con chia sẻ bộ đệm."
Lấy lại dữ liệu từ GPU
Vì vậy, các ứng dụng bằng sáng chế của Apple đã đề cập đến việc hỗ trợ vật lý cho hai hoặc nhiều card đồ họa, sau đó xác định cái nào là tốt nhất cho một tác vụ cụ thể. Tiếp đến, các ứng dụng bằng sáng chế sẽ mô tả cách phân chia công việc trên các GPU có sẵn.
Điều đó sẽ dẫn đến việc lấy lại dữ liệu từ GPU, và điều đó xuất hiện trong ứng dụng bằng sáng chế tổng quát hơn có tên là "Kỹ thuật điều khiển phần mềm cho phần cứng đồ họa hỗ trợ các khe logic".
Ứng dụng bằng sáng chế này bao gồm các mô tả về cách điều khiển "mạch có thể xác định ánh xạ giữa các khe logic và các khe phần cứng phân tán cho các bộ đồ họa khác nhau hoạt động."
Bằng sáng chế cho biết: "Các khía cạnh lập bản đồ khác nhau có thể được kiểm soát bằng phần mềm. Ví dụ: phần mềm có thể chỉ định một hoặc nhiều thông tin sau: thông tin ưu tiên cho một bộ công việc đồ họa để giữ lại ánh xạ sau khi hoàn thành công việc, quy tắc phân phối, nhóm mục tiêu của các đơn vị phụ, mặt nạ đơn vị phụ, chính sách lập lịch trình để lấy lại các vị trí phần cứng từ một vị trí logic khác,..."
![Mac Pro trong tương lai có thể sử dụng song song GPU Apple Silicon & PCI-E]()
Có vẻ như mọi vấn đề nảy sinh do mong muốn sử dụng nhiều card đồ họa ít nhất đã được Apple điều tra. Vì vậy, điều đó đặt ra câu hỏi rõ ràng là liệu Apple có tạo ra một máy Mac bổ sung hỗ trợ nhiều GPU cho Apple Silicon hay không và khi nào.
Khi chúng ta thấy nhiều card đồ họa trong máy Mac
Apple liên tục đăng ký bằng sáng chế, tuy nhiên không có gì đảm bảo rằng bằng sáng chế được cấp cũng sẽ dẫn trực tiếp đến các sản phẩm. Các bằng sáng chế cộng thêm có thể được áp dụng trong nhiều năm trước khi Apple có thể sử dụng chúng.
Vì vậy, bất chấp tất cả các bằng chứng, hiện vẫn chưa chắc chắn rằng Apple sẽ hỗ trợ nhiều GPU trong máy Mac. Và đặc biệt, không thể chắc chắn rằng Mac Pro tiếp theo dự kiến sẽ sớm hỗ trợ.
Tuy nhiên ý định rõ ràng là có, và đây không phải là một tập hợp ngẫu nhiên các bằng sáng chế không liên quan xảy ra để được áp dụng cùng một lúc. Chẳng hạn như ba trong số bốn bằng sáng chế ghi tên Andrew M. Havlir với tư cách là nhà phát minh, cái còn lại có tên nhà phát minh là Steven Fishwick.
Hãy cùng chờ đợi kết quả đến từ Apple xem có đúng như dự đoán không nhé.
MUA MÁY MAC CHÍNH HÃNG GIÁ TỐT
Nguồn:
AppleInsider
Mac Pro
Apple