Galaxy Z Fold 4 có thể được xem là smartphone gập tốt nhất được phát hành trong năm 2022, vì nó mang đến sự cân bằng tuyệt vời giữa chất lượng hoàn thiện, camera, phần mềm và thời lượng pin. Tuy nhiên không có nghĩa là nó không có điểm yếu cần cải thiện. Công ty cần phải khắc phục lỗi thiết kế để mang nó đến gần hơn với những chiếc điện thoại gập được phát hành gần đây của các công ty Trung Quốc. Và hiện tại họ đang làm điều đó với Galaxy Z Fold 5.
Theo báo cáo từ ấn phẩm Naver của Hàn Quốc, Samsung đã sử dụng bản lề hình giọt nước trên Galaxy Z Fold 5. Điều đó có nghĩa là smartphone gập hàng đầu tiếp theo của công ty Hàn Quốc sẽ có thể gập phẳng hoàn toàn, không còn khoảng trống giữa hai nửa của điện thoại khi gập lại. Hơn nữa, màn hình bên trong của Galaxy Z Fold 5 sẽ có nếp nhăn mịn hơn và khó nhìn thấy hơn. Đây là điều mà người hâm mộ Galaxy Z Fold đã yêu cầu trong vài năm nay.
Tuy nhiên, không giống như các hãng smartphone đối thủ của Trung Quốc, Samsung sẽ không bỏ qua chỉ số IPX8 cho khả năng chống nước. Galaxy Z Fold 5 sẽ tiệm cận sự hoàn hảo về thiết kế và trải nghiệm, nổi bật với thiết kế gập phẳng hoàn hảo và khả năng chống nước. Tuy nhiên có một điều ngăn nó trở nên hoàn hảo là thiếu khả năng chống bụi.
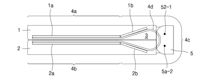
Báo cáo đã nói rằng Samsung đang gọi thiết kế bản lề mới của mình là "dumbbell", và công ty đã cấp bằng sáng chế cho thiết kế này vào năm 2016. Tuy nhiên, hãng đã không mang thiết kế này ra không rõ vì lý do gì (có thể là do thiếu khả năng kháng nước IPX8). Nhờ bản lề hình quả tạ mới này, độ bền của màn hình cũng được cải thiện, và nó có thể sẽ chịu được nhiều thao tác gập và mở hơn trong suốt thời gian sử dụng.
![Galaxy Z Fold 5 có thể trở thành smartphone gập hoàn hảo nhất]()
Bạn có kỳ vọng vào Galaxy Z Fold 5? Hãy để lại ý kiến ở phần nhận xét bên dưới.