Một ứng dụng bằng sáng chế mới được tiết lộ cho thấy Apple đã phát triển các thiết kế bản lề trước đây của mình, ngoài ra họ còn đang mô tả các màn hình iPhone có thể gập lại với các bánh răng phức tạp hơn nhiều.
Khi một chiếc iPhone, iPad hoặc thậm chí là MacBook Pro dạng gập cuối cùng được tung ra thị trường, bản lề gập của nó thường trông trơn tru và đơn giản. Tuy nhiên ở bên trong, có vẻ như Apple đang ưu tiên một thiết kế với lưới bánh răng lồng vào nhau.
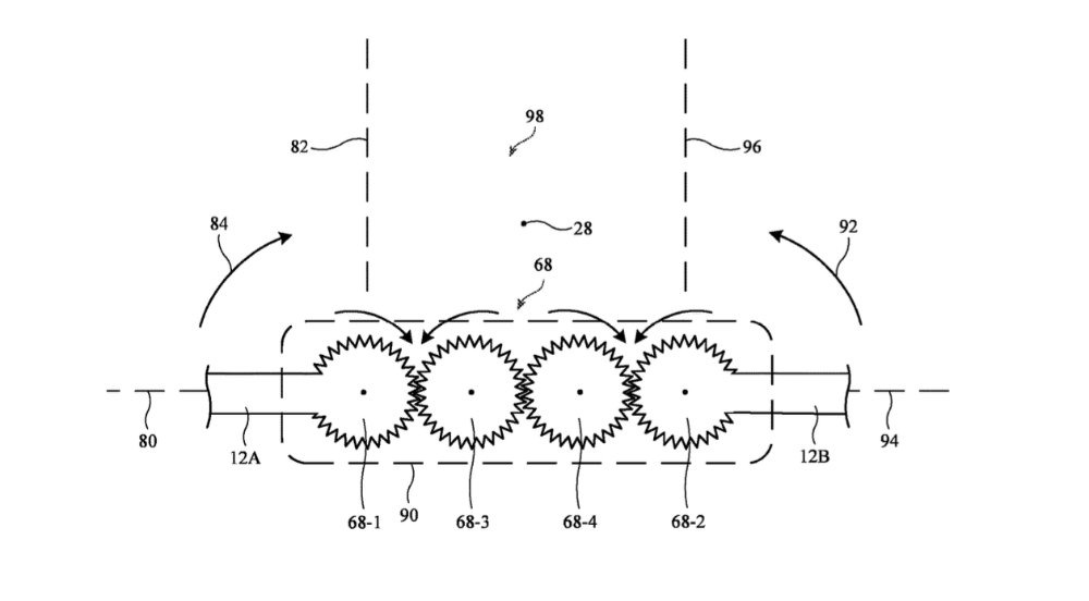
Các bản vẽ thiết kế trước đây cho thấy nhiều nhất là khoảng ba đến bốn bánh răng nhỏ xoay quanh một bánh răng lớn hơn. Tuy nhiên đơn xin cấp bằng sáng chế mới mang tên "Bản lề cho các thiết bị hiển thị có thể gập lại" lại bao gồm các thiết kế với bốn cặp bánh răng tương đối nhỏ, hoạt động thành một tổ hợp phức tạp gồm sáu bộ phận tĩnh.
![Apple tiếp tục phát triển bản lề có thể được sử dụng trên iPhone gập]()
Apple cho biết: “Một thiết bị màn hình có thể gập lại có thể có các phần vỏ được ghép nối bằng bản lề. Bản lề có thể có một loạt các liên kết được kết nối với nhau, các liên kết có thể được hình thành tương tự như các ngón tay liên kết với nhau trong một ly hợp ma sát."
Bên cạnh các bánh răng tĩnh hoặc bánh răng cho phép chuyển động, Apple cũng mô tả các chốt giữ cho thiết bị di chuyển theo các hướng đã định.
Bằng sáng chế tiếp tục: “Các ngón tay hoặc các phần khác của liên kết có thể được cung cấp các rãnh hình lưỡi liềm để nhận ghim. Trong khi gập thiết bị, các chốt có thể trượt dọc theo các khe hình lưỡi liềm, do đó đảm bảo rằng các liên kết liền kề sẽ xoay tương đối với nhau quanh một trục xoay nằm bên ngoài bản lề và bên trong bảng màn hình linh hoạt."
![Apple tiếp tục phát triển bản lề có thể được sử dụng trên iPhone gập]()
Một bản phác thảo riêng biệt cho thấy một hàng bốn bánh răng sẽ lồng trực tiếp vào nhau, trong khi những bản phác thảo khác mô tả các bánh răng bên trong các phần tử cứng khác nhau.
Apple cho biết: “Các liên kết cũng có thể được hình thành từ các phần tử liên kết có bề mặt ổ trục giao phối cong trượt tương đối với nhau khi các liên kết liền kề được xoay tương đối với nhau”. "Cơ chế đồng bộ hóa vòng quay của vỏ có thể được hình thành bằng cách sử dụng một bộ bánh răng kéo dài giữa phần vỏ thứ nhất và thứ hai."
Tất cả những điều này cho thấy Apple đang chuyển từ một hoặc nhiều cơ chế bản lề lớn sang một hệ thống tận dụng nhiều bánh răng nhỏ hơn. Ứng dụng bằng sáng chế mới được tiết lộ có vẻ phức tạp và liên quan hơn so với những ứng dụng trước đó.
Tuy nhiên, có thể Apple đang theo đuổi nhiều hơn một thiết kế cho bản lề. Bằng sáng chế và ứng dụng bằng sáng chế trước đây dường như rõ ràng là dành cho iPhone hoặc iPad, tuy nhiên bằng sáng chế này lại mô tả cụ thể cho nhiều loại thiết bị hơn.
Ứng dụng bằng sáng chế cho biết: "Thiết bị có thể là điện thoại di động, máy tính bảng, máy tính xách tay, thiết bị đồng hồ đeo tay hoặc thiết bị đeo khác, TV, màn hình máy tính độc lập hoặc màn hình khác như màn hình máy tính để bàn. Hoặc cũng có thể là một hệ thống được tích hợp trong xe, ki-ốt hoặc thiết bị điện tử tích hợp khác, trình phát đa phương tiện hoặc thiết bị điện tử khác".
Tuy nhiên, bằng sáng chế luôn được viết để bao hàm phạm vi ứng dụng rộng nhất có thể có của công nghệ của họ. Ngoài ra, mặc dù thiết kế mới dường như là sự phát triển của những thiết kế trước đó, tuy nhiên cũng có thể Apple vẫn đang nghiên cứu cả hai.
Đơn xin cấp bằng sáng chế được ghi tên cho 10 nhà phát minh, bao gồm cả Bradley J Hamel - người đã có các công trình trước đó, bao gồm bằng sáng chế đã được cấp về bản lề ma sát. Ngoài ra còn có Kevin M. Robinson - trước đây đã được liệt kê trong đơn xin cấp bằng sáng chế liên quan đến cơ chế bản lề có thể là dành cho MacBook Pro.
Apple từ lâu đã được đồn đại là đang làm việc trên một chiếc iPhone màn hình gập. Tuy nhiên gần đây, đã có những tuyên bố rằng thay vào đó hãng sẽ tập trung vào iPad gập và MacBook Pro gập.
Bạn dự đoán Apple sẽ ra mắt thiết bị gập nào đầu tiên? Hãy để lại ý kiến ở phần nhận xét bên dưới.